光化学反応用実験装置
-
お気に入り
-
印刷
- 実験
- バイオ・化学
光化学反応実験装置の反応槽は硬質ガラスでできており、光源冷却管は使用目的に応じ波長の透過率からパイレックスまたは石英を選ぶことができます。
反応槽の容量はそれらの用途により300ml 、500ml、1,000ml、3,000ml、10,000ml の5 種類をご用意し、適合光源は高圧UV ランプ(UM-102,UM-452)、および低圧UV ランプ(ULO-6DQ)の光源に使用できます。
また、光源冷却管は水冷用二重管を採用し、UV ランプ等の放射される熱を吸収する構造になっています。なお、部品の接触部はすべてJIS 規格のスリ合せになっていますので、互換性があります。
「光化学反応用実験装置」販売終了のご案内 はこちらをご確認ください。
高圧UVランプ・低圧UVランプと組み合わせて使用できる光化学反応用実験装置です。 光源冷却管は使用目的に応じパイレックスまたは石英をお選び頂けます。
反応容器の容量は300mlから10,000mlまでの5種類をご用意しています。(低圧UVランプは300mlのみ)
光源冷却管は水冷用二重管を採用し、放射される熱を吸収します。
反応容器の容量は300mlから10,000mlまでの5種類をご用意しています。(低圧UVランプは300mlのみ)
光源冷却管は水冷用二重管を採用し、放射される熱を吸収します。
装置部品
適合光源
| 反応容器 | 適合光源 | |
|---|---|---|
| 300ml | UL0-6DQ | UM-102 |
| 500ml | - | UM-102 |
| 1,000ml | - | UM-452 |
| 3,000ml | - | UM-452 |
| 10,000ml | - | UM-452 |
装置部品
300ml
| No. | 名 称 | L | ℓ | φD | φd | TS1 | TS2 | TS3 | TS4 | TS5 |
|---|---|---|---|---|---|---|---|---|---|---|
| 1 | 反応容器 | 175 | 135 | 80 | - | 45/40 | 15/35 | 15/35 | 15/35 | 15/35 |
| 2 | 光源冷却管 | 200 | 120 | 38 | 20 | 45/40 | - | - | - | - |
| 3 | 撹拌棒 | 350 | 80 | - | 7 | - | - | - | - | - |
| 4 | シール | - | - | - | - | - | 15/35 | - | - | - |
| 5 | 玉栓 | - | - | - | - | - | 15/35 | - | - | - |
| 6 | ジムロート冷却管 | 200 | - | 28 | - | - | 15/35 | 15/35 | - | - |
| 7 | ガス導入管 | - | - | - | - | - | 15/35 | 15/35 | - | - |
| 8 | 温度計 | 400 | - | - | - | - | 15/35 | - | - | - |
500ml
| No. | 名 称 | L | ℓ | φD | φd | TS1 | TS2 | TS3 | TS4 | TS5 |
|---|---|---|---|---|---|---|---|---|---|---|
| 1 | 反応容器 | 175 | 135 | 95 | - | 45/40 | 15/35 | 15/35 | 15/35 | 15/35 |
| 2 | 光源冷却管 | 200 | 120 | 38 | 20 | 45/40 | - | - | - | - |
| 3 | 撹拌棒 | 350 | 80 | - | 7 | - | - | - | - | - |
| 4 | シール | - | - | - | - | - | 15/35 | - | - | - |
| 5 | 玉栓 | - | - | - | - | - | 15/35 | - | - | - |
| 6 | ジムロート冷却管 | 200 | - | 28 | - | - | 15/35 | 15/35 | - | - |
| 7 | ガス導入管 | - | - | - | - | - | 15/35 | 15/35 | - | - |
| 8 | 温度計 | 400 | - | - | - | - | 15/35 | - | - | - |
1,000ml
| No. | 名 称 | L | ℓ | φD | φd | TS1 | TS2 | TS3 | TS4 | TS5 |
|---|---|---|---|---|---|---|---|---|---|---|
| 1 | 反応容器 | 270 | 220 | 115 | - | 60/50 | - | - | - | - |
| 2 | 光源冷却管 | 280 | 180 | 53 | 30 | 60/50 | - | - | - | - |
| 3 | 撹拌棒 | 450 | 80 | - | 7 | - | - | - | - | - |
| 4 | シール | - | - | - | - | - | 15/35 | - | - | - |
| 5 | 玉栓 | - | - | - | - | - | 15/35 | - | - | - |
| 6 | ジムロート冷却管 | 300 | - | 35 | - | - | 15/35 | 15/35 | - | - |
| 7 | ガス導入管 | - | - | - | - | - | 15/35 | 15/35 | - | - |
| 8 | 温度計 | 400 | - | - | - | - | 15/35 | - | - | - |
3,000ml
| No. | 名 称 | L | ℓ | φD | φd | TS1 | TS2 | TS3 | TS4 | TS5 |
|---|---|---|---|---|---|---|---|---|---|---|
| 1 | 反応容器 | 380 | 320 | 150 | - | 71/60 | - | - | - | - |
| 2 | 光源冷却管 | 430 | 300 | 60 | 34 | 71/60 | - | - | - | - |
| 3 | 撹拌棒 | 450 | - | - | 10 | - | - | - | - | - |
| 4 | シール | - | - | - | - | - | 29/42 | - | - | - |
| 5 | 玉栓 | - | - | - | - | - | 15/35 | - | - | - |
| 6 | ジムロート冷却管 | 350 | - | 35 | - | - | 15/35 | 29/42 | - | - |
| 7 | ガス導入管 | - | - | - | - | - | 15/35 | 15/35 | - | - |
| 8 | 温度計 | 500 | - | - | - | - | 15/35 | - | - | - |
10,000ml
| No. | 名 称 | L | ℓ | φD | φd | TS1 | TS2 | TS3 | TS4 | TS |
|---|---|---|---|---|---|---|---|---|---|---|
| 1 | 反応容器 | 380 | 320 | 210 | - | 71/60 | - | - | - | - |
| 2 | 光源冷却管 | 430 | 300 | 60 | 34 | 71/60 | - | - | - | - |
| 3 | 撹拌棒 | 450 | - | - | 10 | - | - | - | - | - |
| 4 | シール | - | - | - | - | - | 29/42 | - | - | - |
| 5 | 玉栓 | - | - | - | - | - | 15/35 | - | - | - |
| 6 | ジムロート冷却管 | 350 | - | 35 | - | - | 15/35 | 29/42 | - | - |
| 7 | ガス導入管 | - | - | - | - | - | 15/35 | 15/35 | - | - |
| 8 | 温度計 | 500 | - | - | - | - | 15/35 | - | - | - |
高圧UVランプ
点灯中の水銀蒸気圧は0.5~5MPaで、幅広い紫外線領域の線スペクトルを有し、UVキュアリングや光化学反応実験など、さまざまな分野で活用されています。
250~320nm, 365nmに強いスペクトル
水銀の共鳴線として代表的な365nmと、250~320nmの範囲に強い線スペクトルを持っています。
広い面積に最適なロングアークタイプ
陰極と陽極の距離が長いロングアークタイプで、比較的広い面積への照射に適した構造です。
分光分布図
ランプ外観
高圧UVランプ ラインナップ
| 型式 | 定格 | 標準寸法 | 平均寿命 (h) |
Fig. No. |
適合安定器 | |||||
|---|---|---|---|---|---|---|---|---|---|---|
| 電力 (W) |
電圧 (V) |
電流 (A) |
L1 (mm) |
L2 (mm) |
L3 (mm) |
φD (mm) |
||||
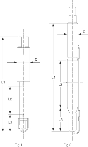
| UM-102 | 100 | 110 | 1.1 | 135 | 40 | 25 | (18) | 1,500 | 1 | UM-103B-B |
| UM-452 | 450 | 130 | 3.8 | 222 | 96 | 36 | (20) | 1,500 | 2 | UM-453B-A |
※平均寿命:定格電力で連続点灯した場合の寿命時間の平均を表します。
寿命とは次の①、②いずれかが発生した時をいいます。
①水平放射照度または全光速が初期の70%になったとき
②点灯不能になったとき
高圧UVランプ安定器
| 型式 | 定格 | 適合ランプ | |||
|---|---|---|---|---|---|
| 入力電圧 (V) |
入力電流 (A) |
二次開放電圧 (V) |
周波数 (Hz) |
||
| UM-103B-B | 100 | 1.5 | 195 | 50/60 | UM-102 |
| UM-453B-A | 100 | 5.5 | 195 | 50/60 | UM-452 |
低圧UVランプ
点灯中の水銀蒸気圧は1~10Paで、185nmと254nmが強力に放射される線スペクトル光源です。UV照射により発生するオゾンと併用することで、酸化反応を促進します。
また、専用の点灯装置もご用意しています。
また、専用の点灯装置もご用意しています。
短波長の紫外線光源
光殺菌や洗浄に有効といわれている185nmと254nmを最も効率よく得るように設計された放電ランプです。185nmの波長はオゾン線、254nmの波長は殺菌線と呼ばれています。
分光分布図
ランプ外観
低圧UVランプ ラインナップ
| 型式 | 定格 | 標準寸法 | 平均寿命 (h) |
Fig. No. |
適合安定器 | ||||
|---|---|---|---|---|---|---|---|---|---|
| 電力 (W) |
電圧 (V) |
電流 (A) |
L1 (mm) |
L2 (mm) |
φD (mm) |
||||
| ULO-6DQ | 6 | 44 | 0.147 | 180 | 100 | (18) | 1,000 | 1 | ULO-6AB-5A |
| ULO-6AB-6A | |||||||||
※平均寿命:定格電力で連続点灯した場合の寿命時間の平均を表します。
寿命とは次の①、②いずれかが発生した時をいいます。
①水平放射照度または全光速が初期の70%になったとき
②点灯不能になったとき
※φDは参考値であり、チップ高さを含みません。
低圧UVランプ安定器
| 型式 | 定格 | 適合ランプ | ||
|---|---|---|---|---|
| 入力電圧 (V) |
入力電流 (A) |
周波数 (Hz) |
||
| ULO-6AB-5A | 100 | 0.147 | 50 | ULO-6DQ |
| ULO-6AB-6A | 60 | |||