光技術情報誌「ライトエッジ」No.16
レーザー学会学術講演会/第19回年次大会
28aV5
(1999年3月)
CsLiB6O10のType1和周波発生における
NCPM波長の温度依存性
Temperature tuning property of type 1 sum frequency generation in CsLiB6O10
○出来恭一、佐久間純、横田利夫、大迫康、吉野雅也、堀口昌宏
((株)ウシオ総合技術研究所)
K.Deki, J.Sakuma, T.Yokota, Y.Ohsako, M.Yoshino, M.Horiguchi
(Ushio Research Institute of Technology Inc.)
公表されているCLBOのセルマイヤー方程式[1],[2]を用いるとNd:YAGレーザーの 基本波波長(1064.21nm)と236.4nm光との和周波混合によっておよそθ=76°で位相整合し,ArFレーザと同一の波長の193.4nm光が発生できると計算されるにもかかわらず,上記2波長の組合せでは,図1に示すように室温で全く位相整合しないことを実験的に確認した.実験にはTSSG法で育成されたを用いたNd:YAGレーザの基本波波長を固定し,もう一方の波長を変えた実験によって室温(23°)では1064.21nmと238.8nmとのSFMにより195.0nm発生でnon-critical位相整合することがわかった。また,CLBOの結晶温度を変えた実験では,NCPMによってArFエキシマーレーザ波長に対応する193.39nm光を発生するには,CLBO温度を約-185°Cに冷却する必要があることを見出した(図2)。また,上記公表されたセルマイヤー方程式とdn/dTから計算されたtuning rate dλ/dTは実験的に得られたtuning rateと大きく異なった。さらに,結晶温度0°C付近でtuning rateが大きく変化する試料も存在することが実験的に確認できたが,現在,この原因はあきらかではない.
参考資料
表1.波長変換による193nm発生方式
表2.Calculated Phase matching conditions of Type 1 CLBO SFM at room temperature
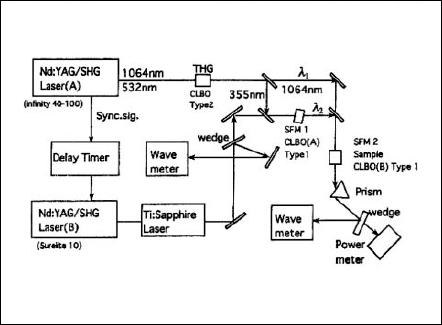
図1.Experimental setup
図2.
図3.
表3.Temperature Tuning Rate
表4.
表5.まとめ
